Prikaz cen
Cene brez DDV
Cene z DDV
SI
HR
Uporabniški račun
Prijava
|
Registracija
|
B2B
Vaši izdelki
0
| 0,00 €
LISTI TRAČNE ŽAGE
Listi tračne žage za rezanje lesa
Listi tračne žage za rezanje kosti in mesa
Listi tračnih žag za Bi-Metal za rezanje kovine
Poseben program bimetalnih trakov za industrijo
Listi za tračne žage iz karbidne trdine
Listi tračnih nožev
BRUŠENJE IN POLIRANJE
Večnamensko brušenje in poliranje
Lamelne brusne plošče
Brusne plošče
Žične ščetke
Brusni, polirni in čistilni diski
Brušenje in poliranje z rotacijskim brusilnikom
Fiber diski in podloge
Pahljačasta brusilna in polirna orodja
Orodje za linearno brušenje ravnih površin
Brusne plošče in brusni kamni
Brusni in polirni traki
Ročni brusi
Brusne kapice in obroči
Brusni čepi
Polirni čepi
Profesionalno električno orodje
Izdelki za poliranje in nego površin
REZANJE IN ŽAGANJE
Rezalne plošče
Listi krožne žage
Žage za kosti
Listi strojne žage
Listi vbodne žage
Listi povratne žage
Ročne žage za les in ostalo
Ročne žage za železo
Tapetniški olfa noži
Trapezni olfa noži
Ostali noži in rezila
Škarje
Orodje za rezanje kovinskih cevi
Orodje za rezanje plastičnih cevi
VRTANJE
Svedri
Obdelava navojev
Rezkarji
Struženje
Grezila
Povrtala
Roto rezkarji iz karbidne trdine
Kronske žage
Kronski svedri
Trdokovinske in diamantne vrtalne krone
Svedri in krone z diamant posipom
Krožni rezalniki
VPENJALNA TEHNIKA
Vpenjalne glave za vrtalnike
Vpenjalne glave
Vpenjalne stročnice ER
Vpenjalne matice ER
Hitrovpenjalni vložki za obdelavo navojev
Čistilniki za konus
Hitrovpenjalni sistem za stružnice
Stružne vpenjalne glave in čeljusti
Stružne konice
Vpenjalni trni
Strojni in ročni primeži
Visokotlačni primeži
Magnetni vpenjalni sistemi
Vakuumski vpenjalni sistemi
Tipala in nastavljaniki ničle za CNC stroje
VARILNA TEHNIKA
Wolfram elektrode za TIG varjenje
Dodajni material
Varilska zaščita
Pripomočki za MIG/MAG varjenje
Pripomočki za avtogeno varjenje
Magnetni kotniki
ROČNO ORODJE
Ročno orodje za luknjanje pločevine
Škarje za rezanje DIN letev
Lomilke in odpirači za zaboje
Spone
Ročne pile
Klešče
Ključi
Imbus ključi
Torx ključi
Natični ključi
Bit nastavki
Izvijači za matice
Cevni ključi
Dleta in izbijači
Kladiva in sekire
Svetilke
Čopiči
Magnetni in kontrolni teleskopi
Orodni vozički in zaboji
Lepilni trakovi
Udarne štampiljke in markerji
MERILNA TEHNIKA
Pomična merila
Mikrometri
Merilniki z merilno uro in merilne ure
Univerzalni merilni kazalniki
Kotniki
Šestila
Izrisovalna tehnika
Kotomeri
Merilni standardi
Višinski zarisovalniki in merilniki
Merilna stojala
Merilne mize in dodatki
Vodne tehtnice in merilniki naklona
Merilni trakovi
Zložljiva merila
Jeklena merila
Jeklena ravnila
Kontrolne šablone, trakovi in merilni lističi
Merilna povečevala
Merilniki trdote in debeline
Dodatki in merilni pribor
DELOVNA ZAŠČITA
Zaščitne rokavice
Zaščitna očala
Zaščita za sluh
Zaščitne maske
Zaščitni predpasniki
ČIŠČENJE IN NEGA ROK
Umivanje in nega rok
Vlažni čistilni robčki
Krpe za čiščenje in brisanje rok
Metle
Delavniške smetišnice
Magneti za čiščenje
Vrečke za odpadke in dodatki
INDUSTRIJSKA TEHNIKA
Vzdrževanje emulzije
Dvižna tehnika
Stroji za obdelavo kovin
Naprave za hlajenje
Rezalno vrtalna olja in emulzija za hlajenje
Križno drsne strojne mize
Merilniki lomnega količnika
Oljniki, plastenke in lijaki
Valjčne proge
KOLEKTIVNI DOPUST: V času prvomajskih praznikov od 28.4.2026 do 1.5.2026 je naše podjetje zaprto. Na voljo vam bomo zopet
4.5.2026
| Naročila, povpraševanja in vprašanja bodo obdelana takoj prvi delovni dan. Želimo Vam lepe praznike!
Ne prikazuj več
Domov
PONUDBA
MERILNA TEHNIKA
Merilniki z merilno uro in merilne ure
Digitalne merilne ure
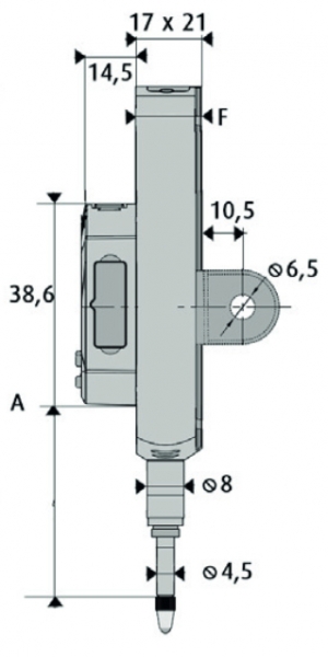
Merilna ura digitalna z absolutnim sistemom, območje 30 mm, odčitek 0,001 mm
Digitalna merilna ura z absolutnim sistemom merjenja in s prednastavitvijo izmerjene vrednosti.
Merilno območje: 30 mm
Odčitek: 0,001 mm
Natančnost: 10 μm
Merilna moč: > 1,5 N
A: 133 mm
C: 83 mm
F: 21 mm
Vertikalno vpenjalno uho
Vpenjalna gred 8 h6, kaljena in brušena
Zamenljiv merilni vložek M 2,5
Vključena baterija 3 V (tip CR2032)
Zaloga:
●
na zalogi pri dobavitelju
Šifra:
02031017
Rok dobave:
3 do 7 dni
Enota:
Kos
Prikazane cene so brez DDV in so informativne narave.
Po ponudbi
Hitro povpraševanje
Za vse dodatne informacije vas prosimo, da nas pokličete ali nam pošljite sporočilo.
Odgovorili vam bomo v najkrajšem možnem času.
Strinjam se s
pogoji poslovanja
.
Z oddajo obrazca soglašam, da lahko interno obdelujete moje osebne podatke vnešene v spletni obrazec in jih uporabljate za namene izvajanja komunikacije vezane na oddan obrazec. Vaše podatke obravnavamo skladno z uredbo GDPR.
Več o varovanju podatkov
.
Vaši podatki so pri nas varni!
Sporočilo ni poslano. Prosimo, izpolnite vsa polja.
Vas zanima več o izdelku?
Uporabniški račun
Prijava
|
Registracija
|
Registracija B2B
SI
HR
LISTI TRAČNE ŽAGE
Listi tračne žage za rezanje lesa
Listi tračne žage za rezanje kosti in mesa
Listi tračnih žag za Bi-Metal za rezanje kovine
Poseben program bimetalnih trakov za industrijo
Listi za tračne žage iz karbidne trdine
Listi tračnih nožev
BRUŠENJE IN POLIRANJE
Večnamensko brušenje in poliranje
Brusno polirna orodja za kotno brusilko
Mini brusno polirna orodja za premi in kotne brusilnike
Brusno polirna orodja s hitro zamenljivim sistemom
Lamelne brusne plošče
Brusne plošče
Žične ščetke
Ročne žične ščetke
Žične ščetke z držalom
Žične krtače za kotno brusilko
Miniaturne žične ščetke
Žične ščetke za stroje
Ščetke iz najlona in silicijevega karbida
Brusni, polirni in čistilni diski
Brušenje in poliranje z rotacijskim brusilnikom
Fiber diski in podloge
Fiber diski
Fiber diski z ježkom
Pahljačasta brusilna in polirna orodja
Orodje za linearno brušenje ravnih površin
Brusni, polirni in čistilni koluti za kolutni brusilni stroj
Brusni, polirni in čistilni koluti za kotno brusilko
Brusne plošče in brusni kamni
Za stacionarni brusni stroj
Za ploščinske stroje - povratno brušenje
Za zunanje cilindrično brušenje
Za notranje cilindrično brušenje
Brusni obroči in segmenti za ploščinsko brušenje
Brusni lonci za univerzalno brušenje in ostrenje
Brusni lonci za kotno brusilko
Brusni zvonovi za univerzalno ostrenje
Za ostrenje in poliranje rezil
Za ostrenje CNC rezilnih orodij
Za ostrenje žag
Ročni brusni kamni
Orodje za poravnavo in profiliranje korundih kamnov
Brusni in polirni traki
Ročni brusi
Brusne kapice in obroči
Brusne kapice
Brusni obroči
Brusni čepi
Keramični brusni čepi
Diamantni brusni čepi
Polirni čepi
Profesionalno električno orodje
Električno ročno orodje
Električno baterijsko orodje
Kompleti dodatkov za brušenje in poliranje
Dodatki in rezervni deli za električno orodje
Izdelki za poliranje in nego površin
REZANJE IN ŽAGANJE
Rezalne plošče
Listi krožne žage
Listi krožne žage za kovine HSS/VHM
Listi krožne žage s karbidnimi zobmi
Listi krožne žage za orbitalno rezanje
Žage za kosti
Listi strojne žage
Listi vbodne žage
Listi povratne žage
Ročne žage za les in ostalo
Ročne žage za železo
Tapetniški olfa noži
Trapezni olfa noži
Ostali noži in rezila
Škarje
Običajne škarje
Škarje za rezanje pločevine
Škarje za rezanje cevi iz umetne mase
Vrtne škarje
Orodje za rezanje kovinskih cevi
Orodje za rezanje plastičnih cevi
VRTANJE
Svedri
Spiralni svedri za kovino HSS/HSSE
Spiralni svedri za kovino HSS/HSSE cilindrično vpetje
Sveder spiralni za kovino HSS/HSSE MK vpetje
Svedri HSS za montažo panelov
Sveder spiralni za kovino HSS bit 1/4 vpetje za ročno vrtanje
Trdokovinski spiralni svedri HM
Modularno vrtanje
Držala za modularno vrtanje
Držala za modularno graviranje
Ploščice in svedri za modularno vrtanje
Dodatki in rezervni deli
Svedri za navrtanje
Centrirni svedri
Stopenjski svedri
Svedri za beton
Svedri za les
Obdelava navojev
Strojni navojni svedri
Strojni navojni svedri Metrični navoj M
Strojni navojni svedri Fini Metrični navoj MF
Strojni navojni svedri Imperialni UN UNC UNF G BS NPT
Strojni navojni svedri Tr, Rd, Vg, Fg, BSC
Trdokovinski strojni navojni svedri
Ročni navojni svedri
Ročni navojni svedri Metrični navoj M
Ročni navojni svedri Imperialni navoji UN UNC UNF G BSW
Ročni navojni svedri Trapezni navoj Tr
Valjanje navojev
Svedri za frikcijsko vrtanje
Strojni svedri za valjanje navojev
Kombinirani svedri
Navojni svedri BIT 1/4" vpetje
Obojestranski navojni svedri BIT 1/4" vpetje
Navojne čeljusti
Navojne čeljusti Metrični navoj M
Navojne čeljusti Imperialni navoji UNC UNF G BS
Navojne čeljusti Trapezni navoj Tr, kolesarski FG
Navojne čeljusti šesterokotne
Navojni rezkarji
Držalno orodje za navojne svedre in čeljusti
Pribori za ekstrakcijo vijakov
Delavniški kompleti za popravilo navojev
Orodja za serijsko popravilo navojev
Orodje za hitro popravilo navojev
Popravilo navojev za avtomobilsko industrijo
Žični navojni vložki
Žični navojni vložki M
Žični navojni vložki UNC
Žični navojni vložki UNF, UN-8
Žični navojni vložki Whitworth (BSW)
Žični navojni vložki BSF
Žični navojni vložki G (BSP)
Rezkarji
Modularno rezkanje
Glave in držala za modularno rezkanje
Ploščice za modularne rezkarje
Nadomestni vijaki in objemka
Rezkarji HSSE
Rezkarji za utore
Kotni rezkarji
Četrtkrožni rezkarji
Čelni rezkarji
Kolutni rezkarji
Rezkarji za les
Struženje
Modularno struženje
Držala za modularno odrezovanje
Ploščice za modularno odrezovanje
Ploščice obračalne rezalne za struženje
Zunanja držala pozitivna
Zunanja držala negativna
Držala notranja pozitivna
Držala notranja negativna
Dodatki, rezervni deli
Trdokovinski stružni noži HM
Stružni noži HSSE
Okrogli in kvadratni stružni noži
Grezila
Modularna grezila
Grezila za kovine
Grezila z BIT 1/4’’ vpetjem
Ravna grezila HSS
Svederna grezila
Povrtala
Roto rezkarji iz karbidne trdine
Kronske žage
Kronski svedri
Trdokovinske in diamantne vrtalne krone
Svedri in krone z diamant posipom
Krožni rezalniki
VPENJALNA TEHNIKA
Vpenjalne glave za vrtalnike
Vpenjalne glave
Vpenjala orodij MK po DIN 228
Vpenjala orodij SK po DIN 2080
Vpenjala orodij SK po DIN 69871
Vpenjala orodij HSK po DIN 69893
Vpenjalne stročnice ER
Vpenjalne matice ER
Hitrovpenjalni vložki za obdelavo navojev
Čistilniki za konus
Hitrovpenjalni sistem za stružnice
Stružne vpenjalne glave in čeljusti
Stružne konice
Vpenjalni trni
Strojni in ročni primeži
Visokotlačni primeži
Magnetni vpenjalni sistemi
Vakuumski vpenjalni sistemi
Tipala in nastavljaniki ničle za CNC stroje
VARILNA TEHNIKA
Wolfram elektrode za TIG varjenje
Dodajni material
Varilska zaščita
Pripomočki za MIG/MAG varjenje
Pripomočki za avtogeno varjenje
Magnetni kotniki
ROČNO ORODJE
Ročno orodje za luknjanje pločevine
Škarje za rezanje DIN letev
Lomilke in odpirači za zaboje
Spone
Ročne pile
Delavniške pile
Posebne pile
Pile za les
Pile za ostrenje
Iglaste in rebraste diamante pile
Ročaji za pile
Klešče
Delavniške klešče
Klešče za električarje
Grip klešče
Cevne klešče
Ključi
Imbus ključi
Torx ključi
Natični ključi
Natični ključi 1/4"
Natični ključi 3/8"
Natični ključi 1/2"
Natični ključi 3/4"
Natični ključi 1"
Kovani natični ključi
Natični ključi v setu
Bit nastavki
Izvijači za matice
Cevni ključi
Dleta in izbijači
Kladiva in sekire
Svetilke
Čopiči
Magnetni in kontrolni teleskopi
Orodni vozički in zaboji
Vozički za orodje
Modularni seti orodja za orodne vozičke
Sestavljeni seti orodja v vozičku
Dodatki k orodnim vozičkom
Lepilni trakovi
Udarne štampiljke in markerji
MERILNA TEHNIKA
Pomična merila
Delavniška pomična merila
Digitalna pomična merila
Dolga pomična merila do 3000 mm
Merila za zavornie sisteme in pnevmatike
Globinska in vgradna pomična merila
Mikrometri
Mikrometri za zunanje meritve
Mikrometri za notranje meritve
Mikrometri za merjenje navojev
Globinski mikrometri
Mikrometri za notranje merjenje izvrtin
Vgradni mikrometri
Visoko natančni kalibri
Merilniki z merilno uro in merilne ure
Analogne merilne ure
Digitalne merilne ure
Dodatna oprema za merilne ure
Merilniki točnosti izvrtin z merilno uro
Hitri merilniki z merilno uro
Merilniki debeline z merilno uro
Univerzalni merilni kazalniki
Kotniki
Ključavničarski kotniki
Precizni lasni kotniki
Posebni in nastavljivi kotniki
Tesarski kotniki
Leseni kotniki
Šestila
Izrisovalna tehnika
Kotomeri
Merilni standardi
Merilne kladice
Mejni nastavitveni merilniki
Merilniki navoja
Merilniki morsejevega konusa
Pripomočki za računanje in pretvorniki
Višinski zarisovalniki in merilniki
Merilna stojala
Merilne mize in dodatki
Vodne tehtnice in merilniki naklona
Merilni trakovi
Zložljiva merila
Jeklena merila
Jeklena ravnila
Kontrolne šablone, trakovi in merilni lističi
Podložni trakovi in folije
Kontrolne šablone
Merilni lističi za špranje
Merilna povečevala
Merilniki trdote in debeline
Dodatki in merilni pribor
Podatkovna povezljivost za merilne naprave
Zaboji in škatle za merilna orodja
DELOVNA ZAŠČITA
Zaščitne rokavice
Zaščitna očala
Zaščita za sluh
Zaščitne maske
Zaščitni predpasniki
ČIŠČENJE IN NEGA ROK
Umivanje in nega rok
Vlažni čistilni robčki
Krpe za čiščenje in brisanje rok
Večnamenske brisače za čiščenje in brisanje
Krpe iz mikrovlaken
Papirnate brisače za brisanje rok
Metle
Delavniške smetišnice
Magneti za čiščenje
Vrečke za odpadke in dodatki
INDUSTRIJSKA TEHNIKA
Vzdrževanje emulzije
Dvižna tehnika
Balanserji
Tehnologija ročnega dvigovanja
Dvižni trakovi
Trakovi za privezovanje
Škripci
Kabli za dvigovanje
Stroji za obdelavo kovin
Tračne žage za kovino
Stroji za vrezovanje navojev
Vrtalni stroji
Noge za stroje
Naprave za hlajenje
Rezalno vrtalna olja in emulzija za hlajenje
Križno drsne strojne mize
Merilniki lomnega količnika
Oljniki, plastenke in lijaki
Valjčne proge
Z uporabo strani soglašate z uporabo piškotkov.
Razumem
|
Več informacij